您好!欢迎来到版权所有:响水零距离网络科技有限公司 , 江苏云聘人力资源有限公司
关注我们
扫码关注官方微信
手机版
手机扫描直接访问
|
服务热线:152-9539-1111
|

查看: 5314|回复: 0 [响水杂谈] 响水11月消防抽查名单公布!相关商户可提前自查

[复制链接]

6549

主题

180

回帖

6万

积分

管理员

Rank: 9Rank: 9Rank: 9

积分
68132
发表于 13 小时前 | 显示全部楼层 |阅读模式 | 来自江苏

为贯彻落实《关于进一步加强生产经营单位安全员和社会面小场所消防安全员队伍建设的通知》的要求,深刻吸取火灾事故教训,全力加强当前火灾防控工作,结合我县实际情况,现向社会公开11月份响水县消防救援大队社会面小场所专项检查计划单位:

一、随机抽查事项清单

抽查事项

对单位履行法定消防安全职责情况的监督检查

抽查依据

《消防监督检查规定》

抽查对象

生产经营单位、社会面小场所

抽查主体

县级消防救援机构

抽查方式

电脑随机抽查

内容及要求

抽查单位遵守《中华人民共和国消防法》、《机关、团体、企业、事业单位消防安全管理规定》、《江苏省消防条例》等消防法律、法规的情况。抽查要求执行《消防监督检查规定》(公安部令第120号令)第十条、第十一条的相关规定。

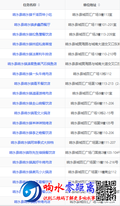
二、2025年11月份专项检查计划

ed684026f0d9bb7f8fc8ebbedc97c0d9.png

d2f9a79f197d4805885e58232b6a52bc.png
来源:响水消防
回复

使用道具 举报

您需要登录后才可以回帖 登录 | 立即注册

本版积分规则

联系我们

免费联系电话

152-9539-1111

服务时间:周一到周日8:00-23:30

关注我们
  • 关注官方微信

  • 手机APP