

“西兰花,又被称为青花菜,由于营养丰富,经常出现在健康餐的配置中。哪里的西兰花好吃呢?今天咱们就一起来尝尝‘中 [详情]
响水县第九批县级非物质文化遗产项目代表性传承人公示为有效保护和传承我县非物质文化遗产项目,进一步加强我县非遗 [详情]
APP内第一通道被挤爆,微信内识别下方图片二维码进入第二通道购买保存图片,微信中打 [详细]
过年了,一年辛苦,本想给老婆买个戒指高兴一下,却被这家金店搞得相当不愉快。 昨 [详细]
2018年3季度城乡居民最低生活保障对象公示名单根据相关规定要求,现将我县城市低保、农村低保对象名单进行公示,如有异 [详情]
警方通报 9月7日20时30分许,在响水县城水岸桃园小区发生一起刑事案件。犯罪嫌疑人任某陶(男,1979年4月生,响水县人 [详情]
2018年8月19日,微信朋友圈、微信群中传播我县一名女孩被多名女孩殴打的视频。我局获悉后高度重视,立即组织警力展 [详情]
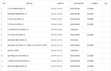
县建筑渣土管理所:开展春季扬尘污染专项整治近日,渣土所党支部
鸡蛋咖啡养发染发,做前做后对比,欢迎广大群友健康咨询
联系方式18036683984 陈先生
响水吴良材眼镜因经营需要特聘导购员6~10名,有销售经验者优先,并招寒假兼职人员6
响水爱斯琳店找面包学徒两名,年龄35岁之内 ,电话051586915777 ,地址盛世豪门旁
山哥生产队大食堂二店(金钥匙广场店)即将开业!店内明厨亮灶,可同时容纳350人就餐
招工:年龄40-65岁 有B2驾驶证,常住响水者优先。工资可日结,有意者联系:138511912
开响水至宝应专线,7.8米货车
2018年12月1日上午9:00,由毛铺酒业有限公司独家冠名、响水县跑步协会主办、灌
新能源车刚起步时,特斯拉在美国的地位就像比亚迪在中国的地位一样,充其量就是一辆美国比亚迪。由于成本原因,到了中 [详情]
雨虹防水补漏免砸砖维修,开锁疏通搬家水电安装改造!专业雨虹防水补漏,厨卫免砸砖,质保十年 《防水补漏》楼房。平台 [详情]
二手木方,模板,步步紧,丝杆出售。响水 [详情]
小黑屋⋅手机版⋅Archiver⋅版权所有:响水零距离网络科技有限公司 , 江苏云聘人力资源有限公司 ( 苏ICP备20029291号-5 )
Powered by Discuz! X3.4 © 2001-2013 Comsenz Inc.